Трансформаторные подстанции
Комплектные подстанции трансформаторные столбовые однофазные типа КПТСО–4–10/10/0,23–…–99У1 предназначены для приема электроэнергии однофазного переменного тока частотой 50 Гц напряжением 10 кВ, преобразования ее в электроэнергию однофазного переменного тока напряжением 0,23 кВ и распределения среди потребителей.
Подстанции трансформаторные закрытые на напряжение 10/0,4 кВ мощностью 160—400 кВА предназначены для приема, преобразования и распределения электрической энергии трехфазного тока промышленной частоты 50 Гц.
Подстанции трансформаторные мачтовые серии ПТМ предназначены для приема электроэнергии трехфазного переменного тока частотой 50 Гц на наибольшее напряжение 12 кВ (номинальное напряжение сети 10 кВ), ее преобразования на напряжение 0,4 кВ и распределения среди потребителей.
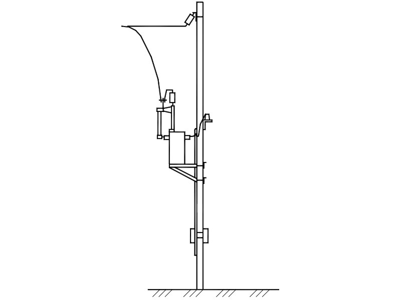
Подстанции трансформаторные столбовые типа ПТС–25–63–12/0,4–…–96У1 предназначены для приема электроэнергии трехфазного переменного тока частоты 50 Гц на наибольшее рабочее напряжение 12 кВ (номинальное напряжение сети 10 кВ), ее преобразования на напряжение 0,4 кВ и распределения среди потребителей.
Подстанции трансформаторные столбовые типа ПТСП–25—63-12/0,4–…–96У1 предназначены для приема электроэнергии трехфазного переменного тока частоты 50 Гц на наибольшее рабочее напряжение 12 кВ (номинальное напряжение сети 10 кВ), ее преобразования на напряжение 0,4 кВ и распределения среди потребителей.
Подстанции трансформаторные столбовые упрощенной конструкции типа ПТСУ—25, 40/12/0,4—96У1 предназначены для приема электроэнергии трехфазного переменного тока частоты 50 Гц на наибольшее рабочее напряжение 12 кВ (номинальное напряжение сети 10 кВ), ее преобразования на напряжение 0,4 кВ и распределения среди потребителей.



.jpg)

